Chat
Avatar
Assistance
🟢 Fast reply
S272CD-ORP-MA and S272CD-ORP-MB - Smart ORP Sensors, Online Process

S272CD-ORP-MA and S272CD-ORP-MB - Smart ORP Sensors, Online Process

Sonde pH redOx
S272CD-ORP-MB/10/TL/TL
Moderately contaminated water, such as industrial source water or natural water resources, may contain chemicals and debris that damage ORP probe components. Continuous monitoring in these types of applications requires a durable and low maintenance ORP probe. Our S272 series of ORP probes feature a double junction design to protect the reference cell from contamination by sample components that interact with silver. The flat measurement surface is self-cleaning and resists breakage, for minimal maintenance. Reliable performance in demanding applications Extended sensor lifetime Versatile design for submersion or in-line mounting One year limited warranty
Interface : MODBUS 485
Longueur du câble : 10 Feet (3 Meters)
En rupture de stock
1 630 €
TTC
Quantité

Rupture de stock

Moderately contaminated water, such as industrial source water or natural water resources, may contain chemicals and debris that damage ORP probe components. Continuous monitoring in these types of applications requires a durable and low maintenance industrial ORP probe. Our S272 series of ORP probes feature a double junction design to protect the reference cell from contamination by sample components that interact with silver. The flat measurement surface is self-cleaning and resists breakage, for minimal maintenance. The durable Ryton body allows testing in a range of chemical environments up to 100⁰C.

  • Reliable performance in demanding applications: Liquid flow naturally cleans the flat ORP measurement surface
  • Extended sensor lifetime: Double junction technology extends sensor lifetime by preventing reference contamination
  • Output Options include: Millivolt, 4-20mA or MODBUS/RS485 output
  • Input Voltage Options: 24V DC
  • Versatile design for many applications: 3/4″ NPT threads on both ends for submersion or in-line mounting
  • One year limited warranty: We stand behind all our products with the Sensorex Guarantee

CA ResidentsProp 65 WARNING(S)

For optimal shelf life, store sensors at 15-30°C.



  • ORP Measurement Range: ± 2000mV
    Body Material: Ryton® Polyphenylene Sulfide (PPS)
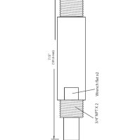
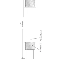
    Temperature Range: 0-100°C (32-212°F)
    Pressure Maximum: 100 psig
    Cable Length: 3m (10ft)
    Connector: Tinned Leads Standard
    Process Connection: 3/4” NPT Threaded



Weight0.48 lbs
Dimensions8.25 × 2.25 × 2.25 in
Cable Length10 feet (3 meters), 20 feet (6 meters)
Interface4-20 mA, MODBUS 485

Moderately contaminated water, such as industrial source water or natural water resources, may contain chemicals and debris that damage ORP probe components. Continuous monitoring in these types of applications requires a durable and low maintenance ORP probe. Our S272 series of ORP probes feature a double junction design to protect the reference cell from contamination by sample components that interact with silver. The flat measurement surface is self-cleaning and resists breakage, for minimal maintenance.

  • Reliable performance in demanding applications
  • Extended sensor lifetime
  • Versatile design for submersion or in-line mounting
  • One year limited warranty
: S272CD-ORP-MB/10/TL/TL
En rupture de stock

Fiche technique

Dimensions
8.25 x 2.25 x 2.25 in
Pressure Maximum
100 psig
Process Connection
3/4" NPT Threaded
O RP Measurement Range
± 2000mV
Applications
Hydroponics & Agriculture, Online Sensors, ORP, Smart Sensors
Longueur du câble
3m (10ft)
10 Feet (3 Meters), 20 Feet (6 Meters)
Body Material
Ryton® Polyphenylene Sulfide (PPS)
Temperature Range
0-100°C (32-212°F)
Connector
Tinned Leads Standard
Interface
4-20 mA, MODBUS 485
Poids
0.48 lbs